1. 서 론
초고층건축물에서 불균일한 연직하중 혹은 부재의 배치로 인해 발생하는 수직부재의 부등축소는 건물의 사용성 및 구조적 안정성확보에 부정적인 요소로 작용하므로 그동안 수직부재에서 발생하는 축변형의 크기를 예측하고 이를 보정하기 위한 연구가 많이 이루어져 왔다(Kim et al., 2003; Eom et al., 2009; Yang et al., 2012). 건물이 비대칭적인 형상을 가지고 있거나 시공 순서에 의한 질량편심이 발생할 경우 이러한 수직방향 변형과 더불어 횡방향으로도 변형이 발생한다. 초고층건축물에서 발생하는 횡변형은 엘리베이터와 커튼월의 시공과 사용성에 큰 영향을 미친다(Lee et al., 2013). 특히 최근의 초고층건물은 비정형적인 형태를 가지고 있는 경우가 많아 부등축소 및 횡변형 발생의 가능성이 크므로 이에 대한 사전예측 및 계측을 통한 모니터링은 수직방향의 축소량과 함께 초고층건설 기술에서 필수기술이 되고 있다.
철근콘크리트조 건물의 경우 탄성변형 이외에 크리프와 건조수축과 같은 시간의존적 변형이 추가로 발생하므로 이를 포함한 장기변형을 예측하는 시공단계해석은 매우 복잡하다. 철근콘크리트부재의 장기변형 예측을 위한 알고리즘으로 SSM, AEMM, RCM 등 여러 가지가 제안되고 있으나 이중 PCA report에 제시된 방법이 부재내 철근의 효과를 고려할 수 있으며 계산량이 비교적 작아 실무적으로 많이 사용되고 있다(Fintel et al., 1987; Gilbert et al., 2010).
본 연구에서는 3차원 시공단계 해석을 통해 58층 규모의 철근콘크리트조 고층건물의 시공단계별 변위를 예측하고 이를 계측치와 비교하였다. 해석치와의 비교에 사용된 계측치는 진동현식게이지(vibrating wire gauge)를 통한 기둥의 축방향 변형률과 3차원 레이져 스캐닝으로부터 추출한 기둥의 횡방향 변위이다. 이를 통해 본 논문에서는 3차원 시공단계해석을 통한 예측의 정확도 및 센서를 사용한 장기변형관리의 가능성에 대해 살펴보고자 하였다.
2. 초고층건물의 현장계측
대상건물은 지하 4층, 지상 58층(최고높이 278.5m)의 말레이시아에서 시공 중인 철근콘크리트조 초고층건물이다. 이 건물은 Fig. 1과 같이 전체적으로 마름모꼴 평면을 가지고 있으며 각 모서리에는 6개의 메가칼럼을, 중앙부에서 한쪽으로 치우쳐진 코어부를 가지고 있다. 또한 횡강성의 확보를 위해 7~10개층 단위로 가새와 유사한 형태의 경사기둥이 사용되었다. Table 1은 메가칼럼에 사용된 콘크리트의 공칭강도 및 재료시험을 통해 얻은 콘크리트의 재료특성을 나타낸다. 본 논문에서는 모서리에 위치한 6개 메가칼럼의 1층에서 계측된 축방향 변형률과 44층 시공시점에 발생한 메가칼럼의 횡방향 변위를 대상으로 계측치와 시공단계 해석에 의한 예측치를 비교하였다. 메가칼럼중 SC1기둥의 단면적 및 철근비는 Table 2와 같으며 나머지 기둥의 경우도 이와 유사하다. Fig. 2는 수직방향 변형률 계측을 위해 메가칼럼의 지상 1층부에 설치된 진동현식 변형률게이지의 설치 상황을 나타낸 사진이며, Fig. 3는 레이져 스캐너를 통한 매가칼럼의 횡변위 모니터링 계측을 나타낸다. 대상건물의 횡변위 측정을 위해 사용된 레이져 스캐너는 2종으로 저층부 및 기준 스캔은 Leica C10, 고층부는 HDS 8800 레이져 스캐너이다.
Table 1
Material Properties of concrete
3. 3차원 시공단계 해석
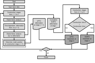
대상 건물의 시공단계별 변위 및 장기변형의 예측에는 ACI 209 및 PCA의 재료모델식, PCA report의 축소량 산정알고리즘을 3차원 구조해석 모듈에 구현하여 개발된 시공단계 해석 전용프로그램인 ASAP이 사용되었다(Ha et al., 2012). PCA report에서 제시된 방법은 하나의 기둥라인만 해석가능하나 ASAP에서는 3차원해석을 기반으로 하므로 수평부재에 의한 각 기둥라인의 수직변형의 재분배 효과 및 횡방향 변형의 산정이 가능하다. 또한 각 해석단계별로 발생한 변형 및 보정량을 고려하여 부재의 절점위치을 재정의하여 해석함으로써 이전 단계에서 발생한 변형량 및 보정량이 이후 단계에 미치는 영향, 즉 2차효과(P-Delta 효과)를 고려하도록 하였다. Fig. 4는 ASAP에서 사용한 시공단계 해석 알고리즘을 나타낸다.
3.1 시공단계 해석 및 보정치의 산정
대상건물의 시공단계 해석시 사용된 재료특성, 즉 탄성계수, 특정크리프, 극한건조수축계수는 Table 1에 나타낸 바와 같이 재료시험을 통해 산정하였다. 상대습도 및 평균기온은 대상건물이 위치한 지역의 기상보고서에 따라 상대습도는 80%로 평균기온은 27℃로 설정하였다. V/S비는 실제 기둥의 단면형상으로부터 산정하였다. 또한 슬래브의 강성이 미치는 영향을 보다 정확히 고려하기 위해 강막(rigid diaphragm)가정을 사용하지 않고 슬래브를 쉘요소로 모델링하였다. 다만 해석모델의 해석시간을 단축하기 위해 코어 내부에서만 강막(rigid diaphragm)가정을 고려하였다. 시공단계 해석의 대상은 사용하중임을 고려하여 균열로 인한 콘크리트의 강성저하는 고려하지 않았다.
Table 3
Preset values of each story for compensation of lateral movement(mm)
시공단계 해석에는 시공계획에 따라 코어부의 선행시공, 경사기둥의 타설 및 프리스트레싱, 경사기둥을 지지하기 위한 임시스트럿의 설치 및 제거를 포함하여 총 77개의 시공단계가 사용되었다. 프리스트레싱의 효과는 시공시점에 부재 양단에 압축력을 주어 고려하였으며, 임시스트럿의 경우는 양단 힌지로 설정한 후 스트럿의 생성시점과 소멸시점를 추가로 지정하여 해석프로그램에 모델링하였다.
앞서 언급한 바와 같이 시공단계 해석의 목적은 완공후 건물의 사용성 확보를 위해 수직부재사이의 부등축소량 및 횡변위(즉, 기울어짐)을 산정하고 이러한 변형량이 적절한 범위가 되도록 보정치(preset)를 산정하는데 있다. 하지만 부재의 장기변형은 보정량과 상관없이 발생하므로 어떠한 특정시점, 즉 목표시점(target time)을 기준으로 보정치를 산정할 수 밖에 없다. 대상건물의 경우 목표시점을 완공후 3년으로 설정하고 보정치를 구하였다. 이는 철근콘크리트 크리프와 건조수축변형은 타설후 3년동안 전체 변형량의 90%이상 발현되므로 그 이후에 발생하는 변형은 비교적 미소하기 때문이다.
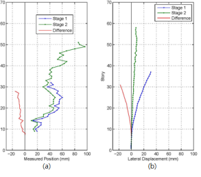
Fig. 5는 시공단계 해석을 통해 구한 보정전 횡변위를 나타내었다. 보정이 이루어지지 않을 경우 건물은 수직부재의 부등변위에 의해 x방향으로 최대 100mm정도 y방향으로는 최대 40mm정도의 횡변위가 발생하는 것으로 나타났다. Table 3는 건물의 수직도 확보를 위해 필요한 수직방향 보정치를 나타낸 것으로 지면관계상 45층에서 54층의 SC1A 기둥에 요구되는 값만을 나타내었다. Table 3의 각 행은 보정전 총변위, 보정후 총변위, 해당층의 보정량, 누적된 보정량을 나타낸다. 표와 그림에서 볼 수 있듯이 SC1A의 보정전 수직변위는 최상층인 54층에서 107.71mm지만, 보정후 수직변위는 40.14mm로 감소하였다.
4. 센서를 통한 변형량의 계측
4.1 축방향 변형
시공단계 해석에 의해 산정된 수직방향 변형률 예측 결과와 실제 부재에 매립된 센서를 통해 구한 계측치를 비교하였다. Fig. 6~9은 기둥 타설후 44층 시공시점까지 SC1, SC1A, SC2A, SC2C 4개 메가칼럼의 1층에서 계측된 축방향 변형량을 예측치와 비교한 그래프이다. Fig. 6과 Fig. 7에서 볼 수 있듯이 평면의 중앙부(Fig. 1참조)에 위치한 SC1과 SC1A의 경우 예측치와 계측치가 매우 유사하게 나타났다. 하지만 나머지 기둥들 즉, 한 모서리에 두 개씩 위치한 메가컬럼의 경우 예측치의 절반정도에 해당하는 축방향변형이 계측되었다. 오차의 원인에 대해서는 명확히 규명하기 어려우나 평면상 예각에 위치하여 주위 거더의 배치가 일반적인 정방형의 평면의 형태에서 벗어나 있는 점, 또한 기둥 단면도 비대칭의 형태를 가져 구조해석시 가정한 하중전달 및 단면성능과 차이를 보였을 가능성도 있을 것으로 판단된다.
4.2 횡방향 변형
현재 초고층건물의 시공중 횡변위의 계측을 위한 방법으로는 주로 광파기 혹은 GPS기기에 의한 측량이 활용되고 있다(Kim et al., 2002). 하지만 광파기는 장비운용상 오차가 발생할 수 밖에 없으며 오랜 시간이 걸리는 것에 비해 얻을 수 있는 데이터의 양이 국한되어 있다. 또한 GPS 측량은 기기의 오차한계로 인해 정밀한 계측치를 얻어내기는 거의 불가능하다. 따라서 최근에는 3차원 레이져 스캐닝기법을 토목/건축구조물의 시공관리에 도입하려는 시도가 이루어지고 있다(Lee et al., 2011a; 2011b). 레이져 스캐너는 계측지점에서 수평방향과 수직방향으로 회전하면서 레이져광선을 쏘아 반사되어 오는 시간 혹은 위상차를 측정하고 거리와 각도데이터를 3차원 좌표로 변환하는 방법을 통해 빠른 시간 안에 대상물체의 3차원적인 형상을 구현할 수 있다.
본 연구에서는 대상건물에서는 37층 시공시점과 58층 시공시점에 레이져 스캐닝을 통해 얻은 표면의 형상 데이터로부터 메가칼럼의 횡변위를 추출하고 이를 시공단계 해석결과와 비교하였다. 레이져 스캐닝은 외부로 노출된 두 면을 대상으로 각 표면마다 수직방향으로 3개의 라인을 따라 이루어졌다. Fig. 100은 레이져 스캔 계측데이터의 한 예로 SC1 기둥에서 계측된 6개 라인 중 2개 라인의 계측결과이다. 그래프에서 y축은 지표면으로부터 높이, x축은 기둥 면의 직각방향(Fig. 11 참조)으로 표면이 돌출된 거리를 나타낸다. 그림에서 볼 수 있듯이 계측결과는 높이에 따라 상당한 요철을 가지고 있음을 알 수 있다. 높이에 따른 요철은 표면 마감의 시공오차에 의한 것으로 기둥의 횡변위는 서로 다른 시점에서 계측된 데이터(즉 표면의 형상)의 차이로부터 구할 수 있다. 또한 그림에서 볼 수 있듯이 측정오차의 영향으로 많은 수의 점들이 띠의 형태로 분포하고 있다. 따라서 한 면에서 계측된 3라인의 계측데이터는 합쳐진 후 이상치(outlier)를 제거하고 층별로 평균값을 구하였다. 이후 각 계측시점에서의 구해진 층별 위치의 차이로부터 두 시점 사이에 발생한 변위를 산정하였다.
Fig. 12(a)의 그림은 그 과정을 나타낸 그래프이다. 그래프에서 볼 수 있듯이 두 시점의 계측데이터로부터 구한 표면의 형태는 매끄러운 선의 형태를 가지지 않으나 두 그래프의 형태가 유사함을 볼 수 있다. 또한 레이스 스캐닝이 지상 1층이 아닌 지상 8층에서부터 시작하고 상층부로 갈수록 충분한 수의 계측이 이루어지지 않아 비교적 정확하다고 생각되는 범위인 지상 8층~지상 28층에 대해서만 변위를 산정하였다. Fig.12(b)의 그래프는 37층 시공시점과 58층 시공시점의 해석결과로부터 구한 지상 8층~지상 28층의 변위의 산정과정을 나타낸다. 앞서 언급한 보정치의 영향으로 58층 시공시점에서 발생한 횡변위는 38층 시공시점에서 발생한 횡변위의 크기보다 줄어 들고 있음을 알 수 있으며 계측치에서도 횡변위가 감소하고 있음을 알 수 있다.
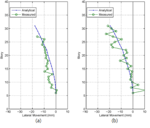
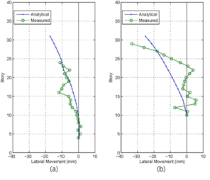
Fig. 13와 Fig. 14는 위와 같은 방법을 통해 구한 횡변위 값이다. Fig. 13는 SC1기둥의 두 면에 대한 계측치와 예측치의 비교이고 Fig. 14(a)와 (b)는 각각 SC2A와 SC2B의 한 면에서 계측치와 예측치를 비교한 그래프이다. 전체적으로 예측치와 계측치의 상관성이 나타나지만 계측치 데이터의 경우 층별로 변동이 심하게 나타났으며 일부의 경우는 사용된 레이져 스캐너의 계측오차범위인 4mm를 초과하는 변동을 보였다. 따라서 향후 장기변형 및 시공변위의 계측 및 관리를 위해 레이져스캔을 사용하기 위해서는 정밀도를 높일수 있는 계측 및 계측데이터의 처리기법이 요구된다.
해석을 통한 횡변위의 예측은 매우 어려운 문제이다. 시공중 발생하는 횡변위의 원인은 편심하중 혹은 강성의 불균형에 의한 수직부재 부등변위이다. 강접골조에 수직부등변위가있을 경우 Fig. 15에 나타낸 바와 같이 수평부재에 부가모멘트
가 발생하며 이 모멘트가 기둥으로 재분배되어 횡변위가 발생한다. 이때 발생되는 횡변위는 식 (1)과 같이 보와 기둥의 강성비와 수직부재의 부등변위의 크기에 영향을 받게 된다.
하지만 앞서 살펴본 바와 같이 수직변위 자체도 정확한 예측이 힘들다. 횡변위의 예측을 위해서는 여기에 또 다른 불확실한 요인, 즉, 수평부재와 수직부재의 강성분포, 기초판의 침하 등을 고려하여야 하므로 횡변위의 정확한 예측은 아주 어려운 문제이며 이를 위해서는 정확한 수직방향 변형의 산정, 수평부재의 균열 및 크리프, 건조수축 효과에 따른 강성변화, 기초판의 응력분포에 따른 변형등을 모두 고려한 연구가 요망된다.
5. 결 론
본 연구에서는 3차원 시공단계 해석을 통해 58층 규모의 철근콘크리트조 고층건물의 시공단계별 변위를 예측하고 이를 계측치와 비교하였다. 대상 건물의 시공단계별 변위 및 장기변형의 예측에는 ACI 209 및 PCA의 재료모델식, PCA report의 축소량 산정알고리즘을 3차원 구조해석 모듈에 구현하여 개발된 시공단계 해석 전용프로그램인 ASAP이 사용되었다. 시공단계 해석결과 수직부재의 부등축소에 의해 최대 100mm 정도의 횡변위가 발생하였으므로 시공시에는 이를 방지하기 위한 보정치가 적용되었다.
해석치와의 비교에 사용된 계측치는 진동현식게이지(Vibrating wire gauge)를 사용하여 계측한 1층부 메가칼럼의 축방향 변형률과 3차원 레이져 스캐닝으로부터 추출한 기둥의 횡방향 변위이다. 계측치와 예측치의 비교결과 평면의 중앙부에 위치한 메가칼럼의 축방향 변형률의 계측치는 해석치와 거의 근사하였으나 2쌍으로 배치된 모서리부분의 메가컬럼의 계측치는 예측치의 절반정도로 상당한 차이를 나타내었다. 또한 2회에 걸친 레이져 스캔에 의한 기둥표면형상의 차이로부터 메가기둥의 횡변위를 산정하였다. 계측된 횡변위는 예측치와 유사한 경향을 보였으나 층별로 상당한 변동을 나타내어 이를 해결하기 위한 계측 및 계측데이터의 처리기법이 요구된다.



















